塑料后倾式圆形管道草莓视频黄色在线观看
产品详情
1.产品简介
CDF系列塑料后倾式圆形管道草莓视频黄色在线观看产品由鼓型高效节能塑料壳体、过载热保护外转子电机、高效离心叶轮构成的优质单相管道草莓视频黄色在线观看。机壳为PP或PA材质,具有良好的表面光洁度、热稳定性、抗老化性和抗酸碱腐蚀性,能够有效保证管道草莓视频黄色在线观看的使用寿命。外转子电机均获得了美国的UL安全标准和欧洲的CE认证标准,成为广大客户的选。该款产品有100mm和125mm两种型号,115V和230V的额定电压使该款电机适用于不同国家的电压要求,适用性强。由于其具有体积小、重量轻、噪音低、效率高和安装使用方便等优点,广泛用于宾馆、超市、学校、医院等公共场所的送风排风系统。如果你需要更多的产品信息,可以在线或电话联系草莓黄片下载安装。
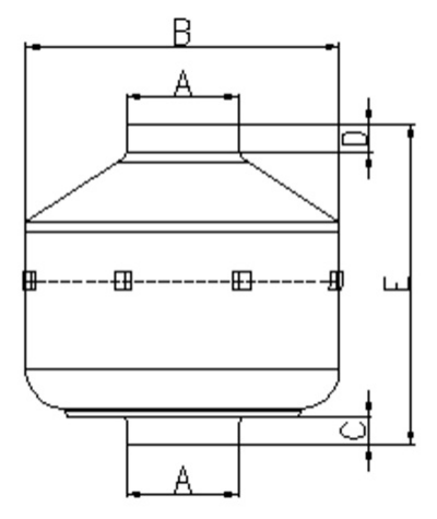
塑料后倾式圆形管道草莓视频黄色在线观看按出风口的直径共分为2种机号:100mm、125mm。下文中为您介绍塑料后倾式圆形管道草莓视频黄色在线观看的尺寸(精确到毫米)、电压、频率、输入功率、电流、转速、电容等参数。
草莓黄片下载安装圆形管道草莓视频黄色在线观看的分类、结构特点、行业用途、工作条件、设计说明、型号说明、产品认证等信息详见:圆形管道草莓视频黄色在线观看CDF系列产品概述。
2. 技术参数
| 型号 MODEL | A (mm) | B (mm) | C (mm) | D (mm) | E (mm) |
| CDF2E100 | 97 | 240 | 20 | 20 | 200 |
| CDF2E125 | 121 | 236 | 24 | 24 | 206 |
| 型号 | 额定电压 | 频率 | 输入功率 | 额定电流 | 转速 | 电容 |
| CDF2E100 | 230 | 50/60 | 73/80 | 0.33/0.35 | 2300/2500 | 2 |
| CDF2E125 | 230 | 50/60 | 70/85 | 0.29/0.32 | 2300/2500 | 2 |
| 型号 | 额定电压 | 频率 | 输入功率 | 额定电流 | 转速 | 电容 |
| CDF2E100 | 115 | 60 | 77 | 0.63 | 2550 | 8 |
| CDF2E125 | 115 | 60 | 85 | 0.7 | 2550 | 8 |
3.外形尺寸图

4.风量风压曲线图
说明:红线为60Hz曲线,黑线为50Hz曲线

塑料后倾式圆形管道草莓视频黄色在线观看100mm风量风压曲线图

塑料后倾式圆形管道草莓视频黄色在线观看125mm风量风压曲线图







